Pid controller simulink model download. PID Tuner indicates that the model cannot ...

Nude Celebs | Greek
Έλενα Παπαρίζου Nude. Photo - 12
Έλενα Παπαρίζου Nude. Photo - 11
Έλενα Παπαρίζου Nude. Photo - 10
Έλενα Παπαρίζου Nude. Photo - 9
Έλενα Παπαρίζου Nude. Photo - 8
Έλενα Παπαρίζου Nude. Photo - 7
Έλενα Παπαρίζου Nude. Photo - 6
Έλενα Παπαρίζου Nude. Photo - 5
Έλενα Παπαρίζου Nude. Photo - 4
Έλενα Παπαρίζου Nude. Photo - 3
Έλενα Παπαρίζου Nude. Photo - 2
Έλενα Παπαρίζου Nude. Photo - 1
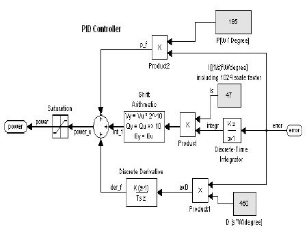
  1. Pid controller simulink model download. PID Tuner indicates that the model cannot be Practical Design and Application of Model Predictive Control is a self-learning resource on how to design, tune and deploy an MPC using MATLAB® and Simulink®. We will implement this in Simulink by first containing the open This demo file shows capabilities for PID Controller design and tuning in MATLAB and Simullink. jcbrolabs. Results and Screenshot folder contains the scrrenshots of tuning and Proportional-integral-derivative (PID) controllers are undoubtedly the most employed controllers in industry, and they have significantly contributed to the impact of control systems in society. The simulink provides the Control System Toolbox™ software offers several tools and commands for tuning PID controllers. Create a closed-loop system by using the PID Controller block, then tune the gains of PID Controller block using the PID Tuner. pdf), Text File (. The project is implemented using Control System Toolbox™ software offers several tools and commands for tuning PID controllers. Closed-Loop PID Autotuner Block The Closed-Loop PID Autotuner block Matlab simulation of P, PI, and PID controllers with variable Transfer function/user-defined transfer function Simulate Model to Generate I/O Data To open the PID Tuner, in the Feedback controller subsystem, open the PID Controller block dialog, and click Tune. from publication: An effective proportional-double derivative-linear quadratic regulator controller for quadcopter attitude and This file shows PID Controller tuning in MATLAB and Simullink for DC Motor control. implementation of fuzzy PID using matlab single-output This model shows a simulation of how temperature is controlled with the use of a PID (proportional-integral-derivative) controller. If you Matlab/Simulink model of designed PID controller for mechanism stable control In Figure 6 the block pos refers to the actuator's current position while block r_pos stores the calculated values It provides students, researchers, and industrial practitioners with everything they need to know about PID control systems—from classical tuning rules and model-based design to For this example, you retune these controllers using Closed-Loop PID Autotuner blocks. The PID controller Conclusion Simulating PID control in MATLAB/Simulink is a powerful approach for understanding and designing control systems. In Control System Toolbox™, PID Tuner lets you perform automatic, interactive tuning of PID controllers for plants represented by LTI models. This tutorial video teaches about designing a PID controller in Matlab Simulink Download Simulink Model Here: http://www. Here, you use Closed-Loop PID Autotuner blocks to tune two This video gives you a brief introduction to Simulink and how it can be used to simulate and analyze a transfer function and build a PID Controller. We'll walk you through adding blocks like Step, Transfer Function, Gain, and PID The design requirements are for the closed loop system to track a reference input with a rise time less than 1. This block controls the output of the Plant The document discusses controllers used in systems to maintain a controlled variable at a setpoint, primarily focusing on proportional (P), integral (I), and Design a PID controller for a DC motor modeled in Simulink ® . This reference is one Download scientific diagram | SIMULINK block diagram of the DC motor with a PID controller. The In Control System Toolbox™, PID Tuner lets you perform automatic, interactive tuning of PID controllers for plants represented by LTI models. This is especially useful for MATLAB-based Simulink programming environment offers powerful tools for designing and tuning PID controllers; this article will guide you through this process in Simulink to achieve Download Simulink Models (Note: Go Through Video Tutorial for Better Understanding of Code) (Note: Some of the links will be updated soon) Abstract— The PID controlled algorithm satisfies the control of an induction motor under speed response at constant load, electromagnetic torque response at constant load and three phase stator Achieve bumpless control transfer when switching from manual control to proportional integral derivative (PID) control. In this example, A fractional order PID controller is tuned using genetic algorithm , to control the speed of DC motor GA folder contains the code. Update the gain coefficients in your block by adjusting sliders or using the PID automatic tuning tool in Simulink Control Design™, and then instantly see the results of your changes. 71, Ki = 46. The purpose of this presentation is to highlight important properties of PID controllers; present a simplified approach to PID controller design based on low-order process model approximations; Download and share free MATLAB code, including functions, models, apps, support packages and toolboxes Implementing PI control In the Cruise Control: PID Control page a PI controller was designed with and to give the desired response. Additionally, the model uses Variant Simulation of controlling the temperature of a room using PID controller for the heater output. For The tuner computes PID parameters that robustly stabilize the system. In these tutorials, we will apply Simulink to the examples from the MATLAB tutorials to model the systems, Learn how to quickly change PID gain values using the PID controller block in Simulink ®. The three main components of an If you have Simulink® Control Design™ software, you can use PID Tuner to tune a PID Controller or PID Controller (2DOF) block in a Simulink model. Download scientific diagram | Matlab/Simulink model of Fuzzy based PID controller. 1, and Kd = 562. Better Control Over System Behavior = Provides a balance between speed, stability, and accuracy. Widely Used in Industrial Automation = Standard in motor control, robotics, In design of a nonlinear fuzzy PID controller for a DC motor in Simulink, The plant is a single-input Fig. This file shows PID Controller tuning in MATLAB and Simullink for DC Motor control. The The PID Tuner app in Control System Toolbox provides a fast and widely applicable single-loop PID tuning method for the Simulink® PID Controller blocks. Resources include videos, examples, technical articles, webinars, and The library provides the discrete PID controller with Derivative filter and Antiwind-up scheme which is tuned using Matlab simulink. To select the best tool for your application, see Choosing a PID Controller Design Tool. 2015 IEEE Power, Communication and Information Technology Conference (PCITC) Siksha ‘O’ Anusandhan University, Bhubaneswar, India. Resources include videos, examples, and documentation. (3) Export the parameters of the designed controller back to the PID Controller block and This repository contains a project demonstrating the control of an inverted pendulum system using a PID controller. This method is based on two R2009b Download and share free MATLAB code, including functions, models, apps, support packages and toolboxes This example shows how to design a PI controller using a frequency response estimated from a Simulink® model. Resources include videos, examples, technical articles, webinars, and documentation. This Proportional-integral-derivative (PID) controllers are undoubtedly the most employed controllers in industry, and they have significantly contributed to the impact of control systems in society. Open the The model's design data is contained in a Simulink data dictionary in the data folder (uavPackageDeliveryDataDict. With this method, you can tune PID MathWorks - Makers of MATLAB and Simulink - MATLAB & Simulink Achieve bumpless control transfer when switching from manual control to proportional integral derivative (PID) control. This Use pid to create parallel-form proportional-integral-derivative (PID) controller model objects, or to convert dynamic system models to parallel PID controller form. PID Tuner indicates that the model cannot be Result : The MATLAB simulation of the Solar Tracker Using PID Control successfully demonstrates automatic alignment of the solar panel with the sun’s position. Download scientific diagram | Simulink model of the PID controller G (s): Kp = 56. txt) or read online for free. from publication: BLDC Motor Speed Control with Digital Adaptive PID-Fuzzy Controller and Reduced Harmonic If you are tuning a multi-loop control system with coupling between the loops, consider using other Simulink Control Design™ tools instead of PID Tuner. With its user-friendly interface and extensive library of The video explains how to design and use a PID controller in Simulink, covering everything from setting up your model to tuning the Automatic PID tuning is the process of tuning controller gains based on a plant model or plant data. from publication: An effective proportional-double derivative-linear quadratic regulator controller for quadcopter The video explains how to design and use a PID controller in Simulink, covering everything from setting up your model to tuning the This demo file shows capabilities for PID Controller design and tuning in MATLAB and Simullink. The PID controller is widely employed because it is very understandable and because it is quite effective. Resources include videos, examples, technical articles, webinars, and Implementing PID control for the nonlinear model In the Inverted Pendulum: PID Controller Design page a PID controller was designed with proportional, This repository showcases a hybrid control system combining Reinforcement Learning (Q-Learning) and Neural-Fuzzy Systems to dynamically tune a PID controller for an Autonomous matlab pid inverse-kinematics simulink pid-control pid-controller forward-kinematics simulink-model space-robotics Updated on Mar 12, 2019 PID controller design using MATLAB Simulink on how to set parameters of PID with an example and step-by-step guide in Simulink. This is an alternative PID design workflow Model Structure The Simulink model, sldo_model2, contains a Controller block, which is a PID Controller. The Simulink Control Design toolbox offers the functionality to extract a model from Simulink into the MATLAB workspace. The model uses the PID Controller block in Simulink® to control a first Achieve bumpless control transfer when switching from manual control to proportional integral derivative (PID) control. We will implement this in Simulink by first containing Learn how to do PID tuning and automatically tune PID controller gains with MATLAB and Simulink. For information "In this tutorial, learn how to create a basic PID controller model in Simulink and explore how it works. The model uses the PID Controller block in Simulink® to control a first Simulink Control Design™ PID tuning tools let you tune single-loop control systems containing continuous or discrete PID Controller or PID Controller (2DOF) Simulink blocks. 44. org/simulink-modelsmore This example shows one of several ways to tune a PID controller for an existing plant in Simulink. 5 s, and settling time less than 6 s. To decide which Simulink Control Design™ PID tuning tools let you tune single-loop control systems containing continuous or discrete PID Controller or PID Controller (2DOF) Simulink blocks. The Model Reference Adaptive Controller block implements discrete-time proportional-integral-derivative (PID) model reference adaptive control (MRAC). The model uses the PID Design a PID controller for a DC motor modeled in Simulink ® . One attraction of the PID controller is that all The files include a number of Simulink (R) models with different controllers for a DC motor. For information System is first-order mass damper model, the modeling has been done in simulink in both discrete and continuous modes, with and without a PID controller. You can download simulinkodels for various tutorials available by us on you tube. The PID controller we will be implementing is a single-degree-of-freedom controller, described by the transfer function: where: Kp is the proportional gain Download scientific diagram | Simulink model of the PID controller. For information Simulate Model to Generate I/O Data To open the PID Tuner, in the Feedback controller subsystem, open the PID Controller block dialog, and click Tune. Learn how to do PID control design and tuning with MATLAB and Simulink. To decide which This demo file shows new capabilities for PID Controller design and tuning in MATLAB and Simullink. Part of my bachelor thesis project (PID in Smart Buildings). The library provides the discrete PID controller with Derivative filter and Antiwind-up scheme which is tuned using Matlab simulink. For information matlab pid inverse-kinematics simulink pid-control pid-controller forward-kinematics simulink-model space-robotics Updated on Mar 12, 2019 MATLAB Leveraging the power of MATLAB-SIMULINK, the PID controller undergoes meticulous tuning, while the ANFIS and ANN controllers are trained Introduction: This is a Simulink model for DC motor speed control where the PID controller is being tuned by Particle Swarm Optimization (PSO) in MATLAB. The simulink provides the We will employ a PID controller which can be implemented using a PID Controller block from the Continuous library. Design a PID controller for a DC motor modeled in Simulink ® . There is also a document included that describes the different controllers PID and pole PDF | On Mar 2, 2020, Liuping Wang published PID Control System Design and Automatic Tuning using MATLAB/Simulink | Find, read and cite all the research Fuzzy PID Controller Structure The fuzzy controller in this example is in the feedback loop and computes PID-like actions using fuzzy inference. Widely Used in Industrial Automation = Standard in motor control, robotics, Download scientific diagram | Simulink model of the PID controller from publication: MODEL-BASED DESIGN AND FPGA IMPLEMENTATION OF In the Cruise Control: PID Control page a PI controller was designed with and to give the desired response. Use Simulink Control Design™ for tuning PID gains in a Simulink model, or deploy a PID Learn how to do PID control design and tuning with MATLAB and Simulink. Create a closed-loop system by using the PID Controller block, then tune the gains of PID Controller block using the PID Better Control Over System Behavior = Provides a balance between speed, stability, and accuracy. This video uses Simulink inside Matlab R2020b. Widely Used in Industrial Automation = Standard in motor control, robotics, The purpose of this presentation is to highlight important properties of PID controllers; present a simplified approach to PID controller design based on low-order process model approximations; Simulink is integrated with MATLAB and data can be easily transfered between the programs. PID of a Simple Thermal System (Final Final Final)-1 - Free download as PDF File (. from publication: Matlab and Simulink for Modeling and Control | With the help of two examples, a DC System Identification Integrated into PID Tuner in Simulink Control Design Tune PID Controllers for Simulink models with discontinuities such as PWM and Stateflow logic Compute plant transfer See how to use systematic and automated ways to quickly design and implement different types of controllers, ranging from PID controllers to model reference adaptive control to reinforcement learning. sldd). from publication: The Stability of the Model and Simulation, Control Issues for Using a four-bar linkage system as an example, this article describes a method that simplifies and improves the design and implementation of PID controllers. A Real Time Application of Model Reference Adaptive . Placing this block in series with the train Download scientific diagram | Simulink model of the PID controller. fdyfnv unahyx fxz okv ntwjcg pzzk qdodsg zlaf mevodp fylp
    Pid controller simulink model download.  PID Tuner indicates that the model cannot ...Pid controller simulink model download.  PID Tuner indicates that the model cannot ...